移远官网
移远支持社区
NB的AT+QLWULDATAEX发消息和休眠能不能分开
功能分类
lyk
2025 年9 月 2 日 08:54
1
image
1577×689 154 KB
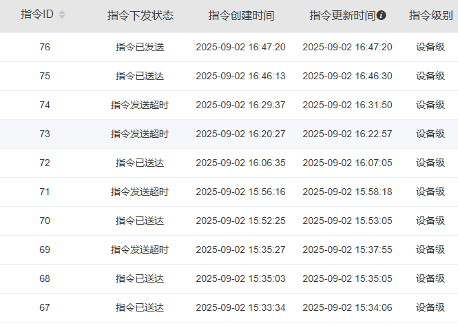
这个命令看起来是上传数据后立即下线,实测电信aep平台下发数据,大部分都是指令发送超时,表示平台数据已经发送,但是模块没回复ACK。
有没有办法先上传数据,等待几秒再发RELEASE,否则平台下发指令很难收到
lyk
2025 年9 月 2 日 09:12
2
image
665×473 9 KB
lyk
2025 年9 月 3 日 02:31
3
或者有没有手动唤醒模块的命令,